一种农产业用优质稻谷摆动式筛选装置

[0002] 本发明涉及一种农产业用优质稻谷筛选装置,尤其涉及一种农产业用优质稻谷摆动式筛选装置。
[0003] 背景技术
[0004] 稻谷是指没有去除稻壳的子实。是一种50-130厘米高的年生性植物,主茎在底部分叉成数个分蘖,分蘖的末端可长出圆锥状花簇。每个花簇可长出50-500个小穗状花序,每个小穗状花序可给出一个果实,即核质仁。果实收获后不与花簇的植物结构完全分离。是我国最主要的粮食作物之一,我国水稻的播种面积约占粮食作物总面积的1/4,产量约占全国粮食总产量的1/2,在商品粮中占一半以上。产区遍及全国各地。我国是稻作历史最悠久、水稻遗传资源最丰富的国家之一,浙江河姆渡、湖南罗家角、河南贾湖出土的炭化稻谷证实,中国的稻作栽培至少已有7000年以上的历史,是世界栽培稻起源地之一。稻谷收集后需要将空稻壳、劣质稻谷与优质稻谷分离出。
[0005] 现有的农产业用优质稻谷筛选装置存在筛选不彻底、结构单一、费时费力的缺点,因此亟需研发一种筛选彻底、结构新颖、省时省力的农产业用优质稻谷摆动式筛选装置。
[0006] 发明内容
[0007] (1)要解决的技术问题
[0008] 本发明为了克服现有的农产业用优质稻谷筛选装置存在筛选不彻底、结构单一、费时费力的缺点,本发明要解决的技术问题是提供一种筛选彻底、结构新颖、省时省力的农产业用优质稻谷摆动式筛选装置。
[0009] (2)技术方案
[0010] 为了解决上述技术问题,本发明提供了这样一种农产业用优质稻谷摆动式筛选装置,包括有左架、底板、滑轨、右架、固定座、第一支架、固定板、风机、电控阀、进料斗、筛选箱、第二支架、第一升降杆、第二连杆、滑块、第一连杆、凸轮、安装座、固定块、气缸、活塞、缸体和第二升降杆,底板顶部左侧设有左架,左架右侧上部设有第二支架,第二支架右部开有第二通孔,底板顶部左侧设有滑轨,滑轨上滑动式连接有滑块,滑块前侧右部铰接连接有第一连杆,滑块前侧左部铰接连接有第二连杆,第二连杆顶端铰接连接有第一升降杆,底板顶部右侧设有安装座和右架,安装座位于右架左侧,安装座上安装有凸轮第一连杆右端与凸轮前侧左部铰接连接,右架左侧从上至下依次设有固定板、第一支架和固定座,固定板顶部设有风机,第一支架左端设有缸体,缸体内设有活塞并与缸体配合,活塞顶部设有第二升降杆,第一升降杆和第二升降杆顶端铰接连接有筛选箱,筛选箱两侧上部对称设有第一通孔,风机出风口正对第一通孔,筛选箱顶部中间设有进料斗,进料斗下部设有电控阀,固定座上设有气缸,气缸的伸缩杆上设有固定块,固定块与凸轮前侧右部铰接连接。
[0011] 优选地,还包括有激振器,筛选箱底部中间设有激振器。
[0012] 优选地,底板材质为不锈钢。
[0013] 工作原理:使用本装置时,工人先打开电控阀,然后将一定量未筛选的稻谷倒入进料斗,稻谷通过进料斗掉入筛选箱内,然后控制电控阀关闭,然后控制风机启动,然后控制气缸伸长,带动凸轮逆时针旋转,凸轮通过第一连杆带动滑块向左运动,进而带动第二连杆向左运动,从而带动第一升降杆下运动,使筛选箱左端向下运动,凸轮逆时针旋转的同时,带动活塞向上运动,进而带动第二升降杆向上运动,使筛选箱右端向上运动,如此使筛选箱向左晃动,当气缸伸长一定长度时,控制气缸收缩,带动凸轮顺时针旋转,凸轮通过第一连杆带动滑块向右运动,进而带动第二连杆向右运动,从而带动第一升降杆向上运动,使筛选箱左端向上运动,凸轮顺时针旋转的同时,带动活塞向下运动,进而带动第二升降杆向下运动,使筛选箱右端向下运动,如此使筛选箱向右晃动,如此反复,使筛选箱不断左右晃动,可以将稻谷里的空稻壳和劣质稻谷翻出至表面,风机通过第一通孔,将表面的空稻壳和劣质稻谷吹出筛选箱外,筛选出优质稻谷。当筛选完成后,控制风机关闭,控制气缸停止伸缩,然后工人对筛选好的优质稻谷进行处理。本装置结构新颖、筛选彻底、可以省时省力,能减小工人的劳动强度,降低劳动成本,有效提工人的工作效率。
[0014] 因为还包括有激振器,筛选箱底部中间设有激振器,筛选稻谷时,控制激振器启动,激振器震动筛选框,使空稻壳和劣质稻谷均匀翻出至表面,使筛选更彻底。
[0015] 因为底板材质为不锈钢,不锈钢耐腐蚀性强和耐酸性强,可以延长本装置的使用寿命。
[0016] (3)有益效果
[0017] 本发明达到了筛选彻底、结构新颖、省时省力的效果,可以大大减小工人的劳动强度,有效降低劳动成本,提高工人的工作效率,能够增强企业的竞争力。
[0018] 附图说明
[0019] 图1为本发明的第一种主视结构示意图。
[0020] 图2为本发明的第二种主视结构示意图。
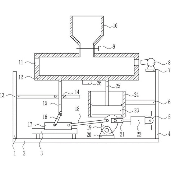
[0021] 附图中的标记为:1-左架,2-底板,3-滑轨,4-右架,5-固定座,6-第一支架,7-固定板,8-风机,9-电控阀,10-进料斗,11-第一通孔,12-筛选箱,13-第二支架,14-第二通孔,15-第一升降杆,16-第二连杆,17-滑块,18-第一连杆,19-凸轮,20-安装座,21-固定块,22-气缸,23-活塞,24-缸体,25-第二升降杆,26-激振器。
[0022] 具体实施方式
[0023] 下面结合附图和实施例对本发明作进一步的说明。
[0024] 实施例1
[0025] 一种农产业用优质稻谷摆动式筛选装置,如图1-2所示,包括有左架1、底板2、滑轨3、右架4、固定座5、第一支架6、固定板7、风机8、电控阀9、进料斗10、筛选箱12、第二支架13、第一升降杆15、第二连杆16、滑块17、第一连杆18、凸轮19、安装座20、固定块21、气缸22、活塞23、缸体24和第二升降杆25,底板2顶部左侧设有左架1,左架1右侧上部设有第二支架13,第二支架13右部开有第二通孔14,底板2顶部左侧设有滑轨3,滑轨3上滑动式连接有滑块17,滑块17前侧右部铰接连接有第一连杆18,滑块17前侧左部铰接连接有第二连杆16,第二连杆16顶端铰接连接有第一升降杆15,底板2顶部右侧设有安装座20和右架4,安装座20位于右架4左侧,安装座20上安装有凸轮19第一连杆18右端与凸轮19前侧左部铰接连接,右架4左侧从上至下依次设有固定板7、第一支架6和固定座5,固定板7顶部设有风机8,第一支架6左端设有缸体24,缸体24内设有活塞23并与缸体24配合,活塞23顶部设有第二升降杆25,第一升降杆15和第二升降杆25顶端铰接连接有筛选箱12,筛选箱12两侧上部对称设有第一通孔11,风机8出风口正对第一通孔11,筛选箱12顶部中间设有进料斗10,进料斗10下部设有电控阀9,固定座5上设有气缸22,气缸22的伸缩杆上设有固定块21,固定块21与凸轮19前侧右部铰接连接。
[0026] 还包括有激振器26,筛选箱12底部中间设有激振器26。
[0027] 底板2材质为不锈钢。
[0028] 工作原理:使用本装置时,工人先打开电控阀9,然后将一定量未筛选的稻谷倒入进料斗10,稻谷通过进料斗10掉入筛选箱12内,然后控制电控阀9关闭,然后控制风机8启动,然后控制气缸22伸长,带动凸轮19逆时针旋转,凸轮19通过第一连杆18带动滑块17向左运动,进而带动第二连杆16向左运动,从而带动第一升降杆15下运动,使筛选箱12左端向下运动,凸轮19逆时针旋转的同时,带动活塞23向上运动,进而带动第二升降杆25向上运动,使筛选箱12右端向上运动,如此使筛选箱12向左晃动,当气缸22伸长一定长度时,控制气缸22收缩,带动凸轮19顺时针旋转,凸轮19通过第一连杆18带动滑块17向右运动,进而带动第二连杆16向右运动,从而带动第一升降杆15向上运动,使筛选箱12左端向上运动,凸轮19顺时针旋转的同时,带动活塞23向下运动,进而带动第二升降杆25向下运动,使筛选箱12右端向下运动,如此使筛选箱12向右晃动,如此反复,使筛选箱12不断左右晃动,可以将稻谷里的空稻壳和劣质稻谷翻出至表面,风机8通过第一通孔11,将表面的空稻壳和劣质稻谷吹出筛选箱12外,筛选出优质稻谷。当筛选完成后,控制风机8关闭,控制气缸22停止伸缩,然后工人对筛选好的优质稻谷进行处理。本装置结构新颖、筛选彻底、可以省时省力,能减小工人的劳动强度,降低劳动成本,有效提工人的工作效率。
[0029] 因为还包括有激振器26,筛选箱12底部中间设有激振器26,筛选稻谷时,控制激振器26启动,激振器26震动筛选框,使空稻壳和劣质稻谷均匀翻出至表面,使筛选更彻底。
[0030] 因为底板2材质为不锈钢,不锈钢耐腐蚀性强和耐酸性强,可以延长本装置的使用寿命。
[0031] 以上所述实施例仅表达了本发明的优选实施方式,其描述较为具体和详细,但并不能因此而理解为对本发明专利范围的限制。应当指出的是,对于本领域的普通技术人员来说,在不脱离本发明构思的前提下,还可以做出若干变形、改进及替代,这些都属于本发明的保护范围。因此,本发明专利的保护范围应以所附权利要求为准。
返回列表